Navigation
Piston Force and Speed
PSI:
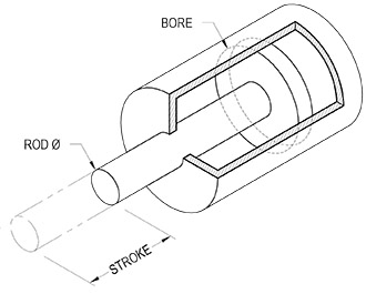
Bore Ø (in):
Rod Ø (in):
Stroke (in):
Force:
Push (lbs):
Pull (lbs):
Piston Speed:
Flow Units:
SCFM
GPM
Flow:
PSI drop (psi):
Temp (°F):
Atmospheric Pressure (psi):
CV
req'd
:
Push
Speed (in/s):
Total Time (s):
Displacement (in
3
):
Pull
Speed (in/s):
Total Time (s):
Displacement (in
3
):
Formulas
Diagram
Disclaimer
Drum Diagram